液壓機振動導致電接點壓力表無法觸發PC機故障的排除
我廠YJ79—630粉末制品液壓機,在工作中 出現上缸壓力無法卸載的故障。經過現場分析發 現,是由于液壓機在工作過程中產生壓制振動,造 成安裝在液壓機機身上電接點壓力表的觸點,處于 不完全接觸狀態,觸點接觸電阻變大造成線路壓降 過大,觸發PC機的電壓降低,PC機無法被觸發, 也就造成上缸壓力電磁閥不工作的故障。將儀表重 新安裝后故障排除。
1.故障現象
故障表現在液壓機壓制產品時,當壓制壓力達 到或超過設定壓力后,壓機上缸壓力不能自動卸 載,必須手動停止液壓機才能卸載。
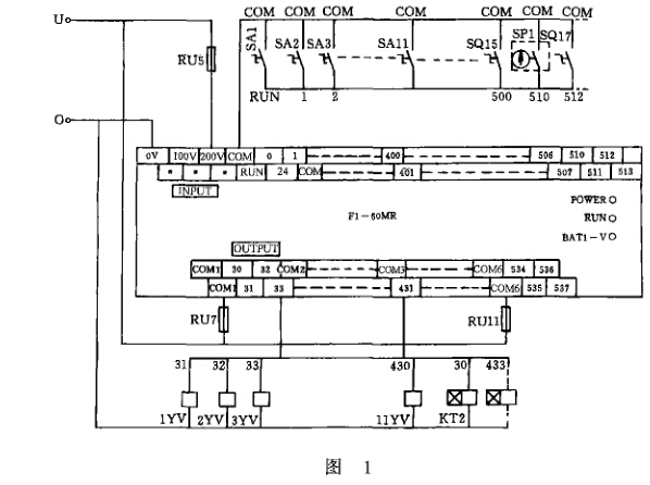
2.故障的查找(圖1)
首先檢查了 PC機的輸出30端口,發現其指示燈無指示。但是PC機輸入受控端口 510指示燈 有指示(端口 510是30端口的程序輸入端),只是 亮度不夠并且有閃爍現象,這一現象沒有引起我們 的重視,認為PC端口 510輸人正常,因此判斷 PC機有故障。就重新編寫程序并將輸出端口改在 433,可是故障依然沒有排除。這時510指示燈亮 度不夠并且有閃爍現象引起了我們的重視,經過檢 查發現電接點壓力表在儀表室檢定合格,但是安裝 在液壓機上后,液壓機工作時,儀表常開觸點閉合 電阻有200kn,明顯存在接觸不良的問題。經過對 此現象的分析發現這是由于液壓機的壓制壓力過大 (本壓機最大壓力為630t),使液壓機機身產生振 動,造成安裝在壓機上的儀表發生共振,使儀表觸 點處于不完全接觸狀態,接觸電阻變大電壓降也就 增加,PC機不到足夠的穩定觸發電壓,形成了 PC 機有輸人但無輸出的現象。
3.故障的排除
根據故障產生的原因,提出三種解決方案。
第一種方案是利用提高PC機的RUN電壓, 抵消儀表觸點電阻增大產生的壓降,保證PC有足 夠的觸發電壓。
第二種方案是在儀表觸點上并聯適當 的電容,利用電容的充放電來保證,PC 機有足夠的穩定的觸電壓。
第三種方案是將儀表移離振動源,安 裝在振動相對小的位置,消除液壓機振動 給儀表帶來得影響。
經過對三種方案的比較認為,前兩種 方案工作量小、易實施,但是不能排除故 障產生的根本原因,為以后工作帶來隱 患。第三種方案雖然要改動設備工作量 大,但是可以徹底排除故障隱患。所以我 們采用了第三種方案,液壓機經過改造后 一年來運行正常。
4.結論
可編程式控制器(PC機)有工作可 靠、壽命長、易安裝等優點,被廣泛使用在各種設 備中。我們在平時要多學習各種計算機知識,在維 修中要多思考,不要被設備的表面現象所迷惑,工 作中才能不走彎路提高工作效率。
上一篇:從發動機機油壓力表看故障


