提高壓力表校驗臺的使用效率
一、前言
在石油化工生產中,應用最多的參數是壓力和 溫度。在一套中型的乙烯裝置中壓力表的數量就達 到千臺。對于壓力表,根據國家和行業的有關規定, 安裝在現場前必須進行校準,以判斷滿足技術指標 要求后才可使用。
二、試驗設備工作原理
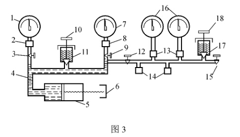
壓力表校準要使用壓力表校驗臺,現在普通使 用的壓力表校驗臺的結構原理如圖1所示’圖中1 為標準壓力表,2、為壓力表接頭,3、為針閥,4為 油管路’ 5為加壓泵’ 6為手輪’ 7為被校壓力表’ 10 為油杯閥,11為油杯。
油杯內提供壓力傳遞用的介質-一清潔的儀表 油或變壓器油,兩個壓力表接頭分別安裝被校壓力 表和標準壓力表。壓力校驗臺采用帕斯卡液壓傳遞 原理,用加壓泵控制液壓的升降,油管路內的壓力保 持均勻’相同的壓力分別傳遞到被校壓力表和標準 壓力表,從而使兩塊表分別指示出管路的壓力,標準 壓力表指示值作為標準值,被校壓力表的指示值作 為測量值,計算出各檢定點的誤差,判斷其是否超 差。
三、存在的缺點
從壓力表校驗臺的結構原理圖1可以看出,每 次操作只能校準一塊壓力表,加上壓力表的計量檢 定點要求為5點。對于各點還要進行輕敲位移檢 測,造成每塊壓力表的檢定從安裝到拆除,需要近三 十分鐘的時間。由此推斷’校準一千臺壓力表需要 的時間為五百個小時,折合工作日為兩個月,這個時 間會對正常的施工生產造成影響。
四、改進的方法
從上面的分析可以看出’每次增減壓過程只能 校準一塊壓力表,造成重復操作多。根據帕斯卡液 壓傳遞原理,管路中各點的壓力是一致的,如果將這 個壓力引出來,增加被校壓力表的數量,就可以達到 一次升降檢定多個壓力表的目的,所以需要在原來 壓力表校驗后上稍加改進,增加一個延伸裝置,提高 被校壓力表一次安裝的數量。
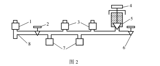
延伸裝置的結構見圖2 ’圖中1、、為壓力表 接頭,2為截止閥,4為油杯閥,5為油杯,6為截止 閥,8為引壓三通。
對延伸部分的要求:
延伸部分作為壓力校驗臺的一部分,需要一個 三通將二者連接起來。
為了能夠對特殊的儀表r同量程或接近的壓力 表數量少;在不拆卸延伸部分的情況下持續校驗,安 裝了截止閥2 ,用于切斷介質進入到后面部分。
為了解保延伸部分的強度和密封性,連接部位 采用焊接,并經過試壓液驗臺操作上限的1. 5倍壓 力)后才可以投入使用。
對由于管路和壓力表彈簧管增加造成的介質油 增多,在盡可能減少管路內徑的情況下,在延伸部分 設置一個輔助油杯’以進行補充。
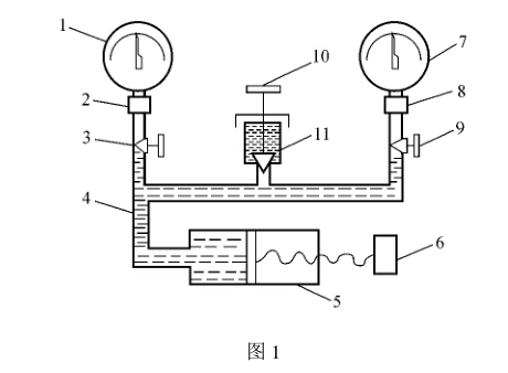
截止閥6用于對其他延伸部分的再連接。力口入延 伸部分后的整體外形如圖3所示,圖中1為標準壓力 表,2、、3、4為壓力表接頭,3、、12、5為截止閥,7、16 為被校壓力表,4為油管路,5為加壓泵,6個手輪,10、 18為油杯閥,11為主油杯,17為輔助油杯。
五、改進后的操作
增加延伸部分后i喿作與增加前相比,略有不同。
首先關閉截止閥3和9 ,打開油杯閥10 ,緩慢向 外旋轉加壓泵手輪6 ,將油杯內的油抽到增壓泵和 管路中,關閉油杯閥10 ,打開截止閥3 ,緩慢向內旋 手輪6 ,直到壓力表接頭2中油出現為止,關閉截止 閥3。打開截止閥9 ,繼續旋進手輪6 ,直到接頭8 出現油為止,關閉截止閥9 ,打開截止閥12 ,同時打 開輔助油杯閥18 ,檢查延伸部分各壓力表接頭處出 現油時,安裝各點的壓力表,包括標準壓力表和被校 壓力表,最后關閉輔助油杯閥,打開截止閥3、。開 始加壓。
六、產生的效益
安裝延伸裝置后,檢定效率得到明顯提高,通過 對現有裝置壓力表的檢定實驗,效率提高了兩倍,同 時由于增減壓力操作次數的降低,壓力校驗臺本身 的故障率也降低了。
下一篇:氣缸壓力表的正確使用


